成都大学讲师总结高尔夫球场果岭设计要领
高球场主要由发球台(Tee)、果岭(Green)、球道(Fair-way)、障碍区(Rough)、挥杆练习场(Driving range)、会所(Club house)、道路(Road)几个部分组成(见图1)。其中,果岭由于直接涉及到高球比赛成败和难易程度,决定了球场建设的成败[2]。熟知高球运动的人都知道,果岭状况代表了高球场的最高水准,球员评价球场的质量标准取决于果岭的状况。在高球场的设计过程中,果岭设计最为重要,要求也最为严格。
一 果岭平面设计
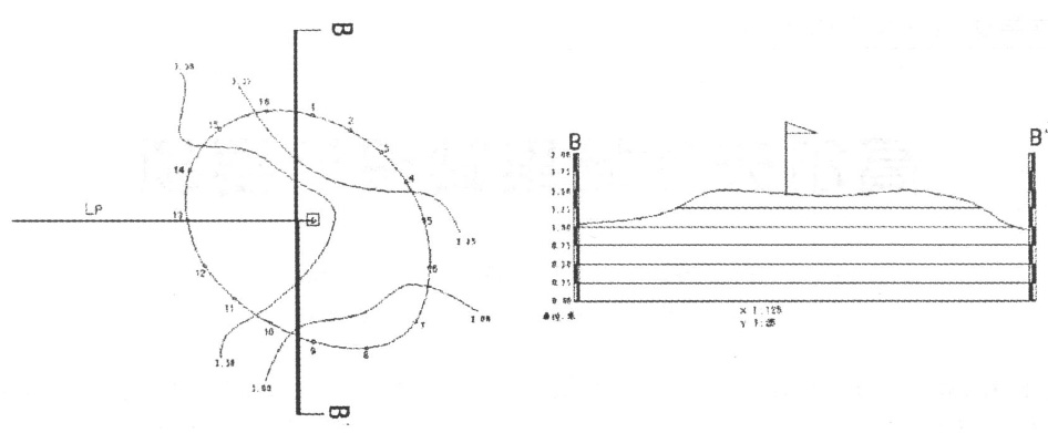
果岭为圆形或近似圆形(见图1和图2),一般由果岭前区(Apron)、果岭后区(Rear)、果岭环(Collar)、球洞(Hole)、旗杆(Pin)、障碍物(Inference)几个部分组成。
果岭前区和果岭后区是果岭的主要组成部分,具体设计将在竖向设计中论述。果岭环布置在果岭的外围,应与球道相接,宽度为0.9-2.7m,草坪刈剪高度为10-19mm(稍低于球道,但略高于果岭)。果岭上设有球洞,洞中插有旗杆及旗帜识别。根据美国高球协会(America GolfAssociation)公布的标准,球洞尺寸为107.9mm,H101.6mm。球洞由专门的打孔器设置,洞内为铁制或塑料制杯,杯口应低于地面25mm。
球洞位置每天均需更换,但距离果岭内沿线位置至少应在4.6mm以上。为了增加高球运动的趣味性和难度,可在果岭附近设置障碍区,如设置沙坑(Green guard bunker)以制造沙坑挖起杆(Sand wedge);设置灌木丛(Green guard shrub)或人工水体(Lake),以为死球( Inplayable)制造可能性。与此同时,沙坑、水体和灌木的设置在景观上又为球场增色不少。(见图1)




此文章来源于网络, 版权归原作者所有。

