球童要失业?耐克AR眼镜专利可辅助高尔夫球选手
耐克在体育科技领域一直有所作为,这次他们的发力点在AR眼镜。根据《每日邮报》12月13日报道,耐克为一款AR眼镜申请了专利,这款AR眼镜设备主要用于高尔夫球运动。
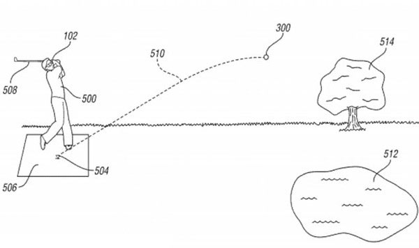
根据专利详细信息显示,这是一款“头戴式电子跟踪显示系统”,球手可以戴上该设备来追踪高尔夫球的速度、轨迹和旋转的情况,还能看到球被打了多远、在空中停留了多长时间等等数据。并且这款AR眼镜不仅仅用于追踪球,还能给选手就击打的环境提供击打球杆选择建议,并且通过内置的场地数据,帮助佩戴者更好地评估地形布局。
此文章来源于网络, 版权归原作者所有。

