卡拉威高尔夫的专利杆头 搭载扰流器
作者:bjgolfer 来源:唐高网 日期:2014-09-01 浏览 3

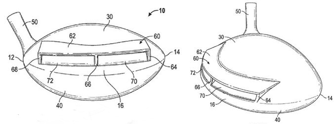
这是申请美国专利的木杆杆头设计图,据悉是下一代的CallawayOptiForce木杆。 最特别之处,在于杆头上盖后方的扰流器结构。将空气力学运用在木杆杆头的设计上,早已经不是新闻,像过去的NikeMachspeed、TaylorMadeBuner或者Callaway的FTOptiForce等,都强调运用力学设计的杆头形状能够减少空气阻力,提升杆头速度。 不过,直接大剌剌地把飞机上的扰流翼装在杆头上,这倒是少见,让我想起了台湾自制品牌Flyin的经典尾翼系列开球木杆,在杆头上盖竖起的背鳍,也强调能让杆头飞得更稳定、更快速。根据专利文字上的解释,从上盖延伸出来的扰流器上层结构,约和地面平行,作用在于减少空气阻力并增加杆头速度。 有此扰流翼结构的杆头,后方所形成的空气阻力,将会明显变小。不过,届时真正推出后,这道尾翼是否会让球友们在瞄球时感到碍眼、别扭,端视Callaway设计师的美化功力了。
此文章来源于网络, 版权归原作者所有。
求职招聘